Artikel: Tds 937
Gedeckte Schüttgutwagen mit dosierbarer Schwerkraftentladung und zwei Radsätzen.
Diese Wagen sind geeignet für den Transport von witterungsempfindlichen Schüttgütern. Sie besitzen eine gleisseitige, dosierbare Entladeeinrichtung. Die meisten Fahrzeuge besitzen einen Innenanstrich, der sich insbesondere durch den Schutz vor Verunreinigungen, günstigeres Entladeverhalten (Rutschverhalten) bei schwer fließenden Gütern sowie durch verbesserten Korrosionsschutz bei aggressiven Ladegütern auszeichnet. Vorrangige Ladegüter sind Düngemittel, Kalk und Koks.
Hinweis: Bauart ähnelt Wagen auf dem Foto. Exakte Abmessungen entnehmen Sie bitte der Zeichnung sowie unten genannten Daten.
Technische Details
Laderaum (m3) | 38,0 |
Breite der Beladeöffnung (mm) | 1.200 |
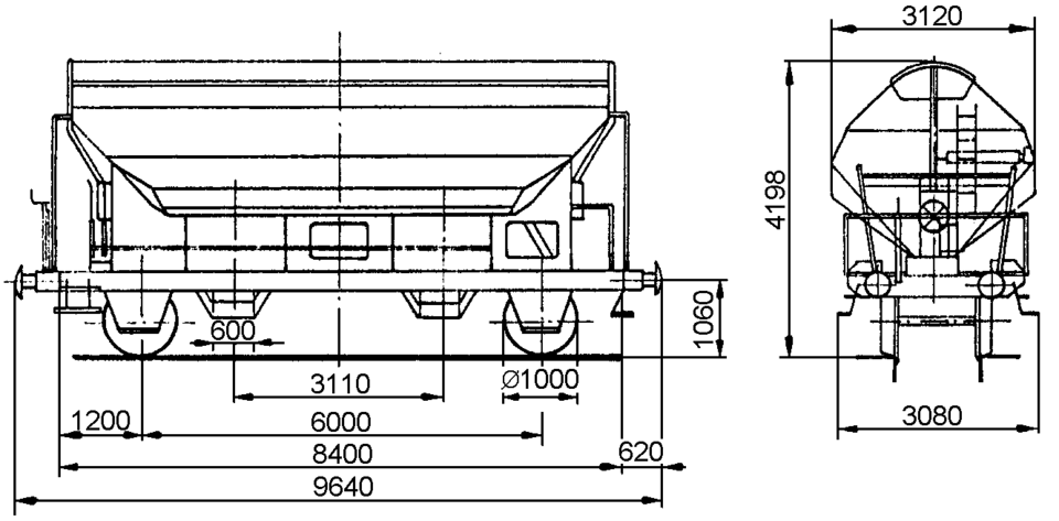
Länge der Beladeöffnung (mm) | 8.000 |
Durchschnittl. Eigengewicht (kg) | 13.500 |
Höchstgeschwindigkeit (km/h) | 120 |
Internationale Verwendungsfähigkeit | RIV |
Vereinheitlichung/Standardisierung | UIC |
Kleinster Gleisbogenhalbmesser (m) | 35 |
Erstes Lieferjahr oder Baujahr der z. Z. ältesten Wagen | 1971 |
Feststellbremse | mit und ohne Feststellbremse |
Bauart der Bremse | KE-GP |
Anzahl der Bremszylinder (Stck.) | 1 |
Durchmesser der Bremszylinder (mm) | 300 |
Art der Lastabbremsung | zweistufig, mechanisch |
Bauart der Puffer | UIC 526-2 |
Puffertellerabmessungen (mm) | Ø 450 |
Automatische Kupplung | für Einbau nicht vorbereitet |
Bauart des Steuerventils | KE 1adSL |
Individuelle Daten
Art der Zugeinrichtung | geteilt |
Bauart der Zugfeder | 2 Kegelfedern in Reihe |
Mindestzugkraft der Zugfeder (kN) | 2 x 200 |
Art der Federgehänge | Doppelschaken |
Breite der schwenkbaren Zusatzrutschen (mm) | 600 |
Breite der schwenkbaren Auslaufrutschen (mm) | 600 |
Höhe der festen Auslaufrutschen über SO, leer (mm) | 700 |
Höhe der schwenkbaren Auslaufrutschen über SO, leer (mm) | 394 |
Lichte Weite der Entladeöffnungen (mm) | 410 x 1.330 |
Mittenabstand der Entladeöffnungen (mm) | 3.110 |
Laufwerk | UIC 517, Anlage 4 |
Lastgrenzen
Eigengewicht > 13,0 t ≤ 13,5 t
mit und ohne Feststellbremse
A | B1 | B2 | C | |
|---|---|---|---|---|
S | 18,5 t | 22,5 t | 22,5 t | 26,5 t |
Sonstige Vermerke:
Der Wagen ist für den Transport von nässeempfindlichen Schüttgütern aller Art, wie z. B. Salze und Düngemittel, vorgesehen. Der Transport grobkörniger oder kantiger, schwerer Güter (z. B. Kies, Schlacke, Schotter) ist wegen einer möglichen Beschädigung der Innenbeschichtung nicht zulässig.
Das Untergestell und der Wagenkasten sind als Schweißkonstruktion unter Verwendung von Walzprofilen und Blechen hergestellt. Beide Teile sind miteinander verschweißt.
Der Wagen besitzt zwei Bühnen, die von beiden Seiten zugänglich sind. Beide Bühnen sind mit einer Sprossenleiter versehen. Die Arbeitsbühne ist mit Handhebeln zur Betätigung der Wölbschieber, mit dem Handrad zur Öffnung des Daches und teilweise mit einer Feststellbremse und Notbremshahn ausgerüstet.Der Neigungsgrad des trichterförmigen Wagenkastens ermöglicht eine restlose selbsttätige Entladung.Die Entladung des Wagens erfolgt über Wölbschieber.
Der Wagen ist mit einem einschaligen Hubschwenkdach ausgerüstet. Das Dach wird vor dem Schwenken angehoben und dann seitlich abgeschwenkt, wobei die gesamte Breite der Beladeöffnung freigegeben wird. Im geschlossenen Zustand ist das Dach gegen unbeabsichtigtes Verschwenken gesichert.
Das Verschieben des Güterwagens mit geöffnetem Dach ist nicht gestattet.
Das Entfernen von Ladegutresten in der Be- oder Entladestraße ist nur durch leichte Gummihammerschläge auf die äußeren Behälterwandungen gestattet oder durch den Einsatz von Pressluftlanzen im Laderaum!
Für die Bedienung der Wagen ist die DV 975/2 zu beachten.